MESLEK RESİM
KOMPLE ve MONTAJ RESİMLERİ
TS 8273'e göre; birçok parçadan oluşan bir bütünün, parçalarını bir arada, bir veya daha fazla görünüşte gösteren teknik resimlere Komple Resim (Montaj Resmi) denir.
Teknikle ilgili olan herkesin, teknolojinin ürettiği her türlü makine, cihaz, araç gereç vb. kullanan kişilerin, evrensel çizgi dili olan teknik resimle bilerek veya farkında olmadan iç içe oldukları bir gerçektir. Üretimden tüketiciye kadar, gerekli bilgilendirme işlevini yerine getiren teknik resmin önemi tartışılamaz. Üreticinin veya tüketicinin, bilgi edinme ve bunu kullanma zorunluluğu vardır. Üretim aşamasında çalışan bir işçi, ilk bilgiyi kendisine verilen ve yaptığı işi tanımlayan belgelerden alır. Bu nedenle işçi kendisine verilen bu belgeleri yani teknik resmi anlayabilmelidir. Bilgiye erişebilme ve bilgilendirmede ilk şart; uygun iletişimi, uygun iletişim araçlarıyla sağlamaktır. İmalat için tüm bilgiler, teknik resim üzerinde bulunduğuna göre ve teknik resmi bir iletişim aracı olarak kullanmaya kalktığımızda; parçaların tek tek veya birlikte ele alınarak makineyi bir bütün olarak incelememizi ve üretebilmemizi sağlayacak tüm bilgileri bize sağlamalıdır.

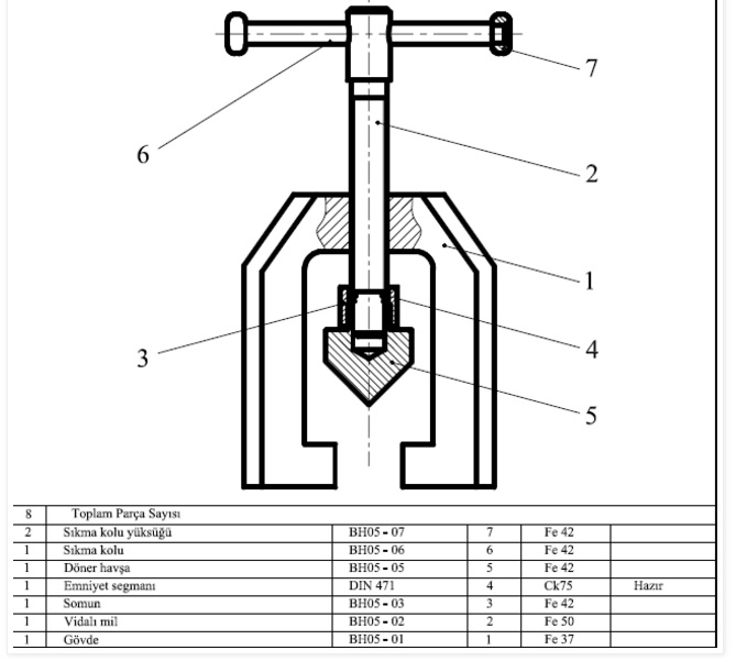
Bilindiği gibi bir makine, değişik parçalardan meydana gelir. Parçaların bir araya getirilerek birbirine nasıl uyuştuğu ve farklı pozisyonları, montaj resimlerinde gösterilir. Montaj resmi kavramını açıklayabilmek için aşağıdaki örneğimizi verelim. Bu montajımız 4 farklı parçadan yapılmıştır. Bu dört parçanın bir araya getirilmesiyle montajımız aşağıdaki şekilde oluşur.


KOMPLE (MONTAJ) RESİMLERİNDE BULUNMASI GEREKEN ÖZELLİKLER
- Çok büyük olmayan sistemler ve makineler dışında genellikle komple resim çizim ölçeği 1:1 olmalıdır.
- Makine ve mekanizmayı tam olarak belirlemek için gerekli tüm görünüşleri (standart görünüşler, yardımcı görünüşler vb.) içinde bulundurmalıdır.
- Komple resimler gerek duyulmadıkça ölçülendirilmemelidir.
- Her parçaya ait bir parça veya montaj numarası verilir.
- Uygun yazı alanına sahip olmalıdır.
KOMPLE (MONTAJ) RESİM ANTEDİ
Bir teknik resimde parçaların üretilebilmesi için gerekli bilgilerin bir çoğu, yazı alanı veya antet adı verilen bir bölümde gösterilmektedir. Komple resimlerde yazı alanı, gerekli bilgilerin verilmesi amacıyla iki ayrı bölümde ele alınır. Bunlardan birinci bölüm "Başlık", ikinci bölüm ise "Parça Listesi" olarak adlandırılır.

Mühendislik ve mimarlık alanlarında çizilen projelerin ve teknik resimlerin, belirli bir düzen ve beraberlik içerisinde kullanılması yazı alanın standartlaştırılması ile mümkün olabilir. Ayrıca bazı bilgi ve dokümanların birbirleri arasında alınıp verilmesinde ve birbirleriyle karşılaştırılmasında da yardımcı olur.
Bir başlık, resim kağıdının sağ alt köşesinde yer alır. Montaj resimlerinde ise parça listesiyle birlikte kullanılır. Başlık kullanma yeri ve amacına göre düzenlenebilir. Bir başlıkta yer alması gereken bilgiler;
- Kurumun adı ve sembolü
- Resim numarası
- Parçanın veya işin adı
- Çizilen resmin ölçeği
- Çizilen resimle ilgili tarihler
- Sorumlu kişilerin ad, soyad ve imzaları
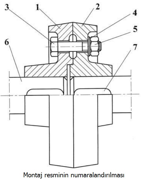
KOMPLE RESMİN NUMARALANDIRILMASI
Komple bir sisteme (Montaj resmi vb.) ve detaylarına ait çizilen resimlere birer resim numarası verilmelidir. Bu numaraların kurumlarca oluşturulacak numaralandırma sistemlerine göre yapılması uygun olur. Komple resim çizildikten sonra, parçalar arası ilişkilerin belirlenmesi ve açıklanması amacıyla her parçanın, organın ve grubun montaj bakımından numaralandırılması gerekmektedir. Numaralandırmanın amaca uygun olması için doğru sistemin kullanılmasına dikkat edilmelidir.
Komple resimlerde numaralandırma 3 değişik sistem kullanılarak yapılabilir.
1- Montaj Sırasına Göre Numaralandırma, bir komple resmi oluşturan gruplara, organlara ve parçalara montaj sırasına göre birer numara verilir. Bu sıra numarasına montaj numarası veya parça numarası denir. İlk olarak ele alınan parçaya (1) numara, son takılan parçaya ise en son numara verilir. Bu numaralama sistemiyle makinenin çalışıp çalışmayacağı ve parçalar arasındaki ilişkiler kontrol edilebilir.
2- Parça Büyüklüklerine Göre Numaralandırma, parça büyüklüklerine göre parça numarası verilirken, hacim veya ağırlık bakımından en büyük parçaya (1) numara verilir. Genellikle son parçalar cıvata, pim, yay, segman gibi standart parçalar olur.
3- İmalat Yöntemlerine Göre Numaralandırma, imalat yöntemlerinden olan döküm, dövme, kaynak ve talaşlı üretim (torna, freze, vargel, taşlama vb.) metodlarından birisi kullanılarak elde edilen standart parçalara, ayrı ayrı ve sırasıyla numara verilir. Bu numaralama yöntemlerini dışında, uygun görülen bir mantığa göre de numaralandırma yapılabilir.

Montaj numarası verme ve yazma düzeninde rakam büyüklükleri, resmin okunabilir ve güzel görünmesi için önemlidir. Montaj numaraları verilirken aşağıdaki kurallar uygulanmalıdır;
- Makine veya sistemi meydana getiren her parçaya (varsa grup, organ, bölüm vb.) sırasıyla bir numara verilir.
- Bir makinede bulunan birbirinin aynı parçalara, yeri ve adedi ne olursa olsun sadece bir defa numara verilir.
- Cıvata, somun, pim, kama vb. gibi birbirinin aynı olan parçalara aynı montaj numarası verilir. Fakat gereçleri farklı ise ayrı bir montaj numarası verilmelidir.
- Komple (montaj) resimlerde, contalara da resimleri çizilmemesine rağmen numara verilir. Gereçleri ve kalınlıkları parça listesine yazılır.
- Montaj numaraları, düşey ve yatay sıralar halinde aralarında yeterince boşluk olacak şekilde düzenlenmelidir.
- Bütün oluşturulan bölüm, grup veya organlara bir parçaymış gibi parça (montaj ) numarası verilir.
- Çizim, bağımsız tek parçayla ilgili ise buna bir parça numarası vermeye gerek yoktur. Resim numarası vermek yeterlidir.

- Tüm parça numaraları, ilgili parça için gerekli bilgiyi verecek şekilde bir parça listesinde gösterilir.
- Parça numarası verilirken sadece rakam kullanılmalıdır.
- Bir toplu resimde, bütün parça numaraları aynı işaretleme tipinde ve yükseklikte olmalıdır. Numaralar diğer gösterimlerden kolayca ayırt edilebilmelidir.
- Kullanılan rakam yükseklikleri, resimde ölçülendirme için kullanılan rakamların yaklaşık iki katı büyüklüğünde olmalıdır.
- Rakamlar daire içine alınmamalıdır. Daire içine alınacak rakam varsa daire çapı rakam yüksekliğinden fazla olmalıdır ve daireler ince çizgiyle çizilmelidir.
- Montaj resminde parça, en net olarak hangi görünüşte ifade ediliyorsa o görünüşte numarası verilmelidir.
- Birbiriyle ilgili olan parçaların parça numaraları aynı kılavuz çizgiyle gösterilebilir.
- Kılavuz çizgiler olabildiğince kısa olmalıdır.
KOMPLE RESİMLERİN PARÇA LİSTESİNİN DOLDURULMASI
Bir kompleye veya gruplara ait olan montaj resimlerinde ilke olarak bütünü meydana getiren elemanları, belirli yönlerden tanıtacak listelerdir. Parça listesi, kompledeki parçaların sayılarını, adlarını, standart elemanların anma boyutlarını, standart numaralarını, resmi çizilen parçaların resim numaralarını, model veya kalıp numaralarını, ağırlıklarını veya kaba boyutlarını vb. bilgileri taşımalıdır. Parça listeleri, başlığın üst tarafına başlık genişliği kadar olmak üzere çizilir. İstenilen özellikleri taşıyacak şekilde düşey bölüntüler yapılır. Parça sayısına göre satırlar çizilir. Parçaların parça ya da montaj numaraları, aşağıdan başlamak üzere yukarı doğru yazılır. Daha sonra diğer bilgiler doldurulur.

KOMPLE RESİMLERİN ÖLÇÜ ve TOLERANS ÖZELLİKLERİ
Komple resimlerde genellikle ölçü verilmez. Montaj için gerekebilecek dış hacim ölçüleri, eksenler arası, hareket miktarları, açıklıklar vb. gibi ölçüler verilebilir. Az parçalı "yapım montaj resmi" ve eğitimle ilgili hazırlanmış soru şeklindeki komple resimlerde parçalar ölçülendirilebilir. Komple resimlerde genellikle ölçü verilmediğinden, buna bağlı olarak toleranslar da verilmezler. Sadece montaj için gerekebilecek ölçülerde toleranslar kullanılabilir.
KOMPLE RESİMLERİN SINIFLANDIRILMASI
Komple resimleri üç ana grupta toplamak mümkündür.
1- Genel komple resimler
Genel kompleler, konstrüksiyon resminden kopya edilebilirlerse de son montaj resmi, daha çok ayrı bir kağıda daha küçük veya daha büyük ölçeklerle tekrar çizilir. Genel komple resimlerin çizimi hataların ortaya çıkmasında aynı zamanda bir kontrol mekanizması olarak da kullanılır. Grup kompleleri, organ kompleleri ve parçaların montaj durumları bu tip resimlerde gösterilir.

2- Grup komple resimler
Grup Komple Resimler Makinenin başlı başına çalışabilen bölümlerini meydana getiren montaj resmidir. Örneğin; torna tezgahının arabası, gezer puntası, norton kutusu vb. ayrı ayrı çizilebilen bu tip montaj resimleri, torna tezgahına ait grup montaj resimleridir.


3- Organ komple resimler
Birden fazla organdan meydana gelen grupların ayrı çizilmiş resimlerine, organ komple (Montaj) resmi veya kısım montaj resmi denir. Örneğin, torna tezgahının araba grubu üzerinde bulunan kalemlik montaj resmi böyle bir organ montaj resmidir.













Bu web sayfasındaki yazılı ve görsel bütün bilgilerin yayın hakları Hamit ARSLAN' a aittir. Hamit ARSLAN' ın yazılı izni olmaksızın kısmen veya tamamen alıntı yapılamaz, kopya edilemez, elektronik, mekanik, dijital, fotokopi ya da herhangi bir kayıt sistemiyle çoğaltılamaz ve yayınlanamaz.